
Type: Wafer type
Size: 2”-24”
Work Temperature:- 30℃ -130℃
Suitable Medium: Water, Steam,Non abbressive fluids

Technical Specifications:
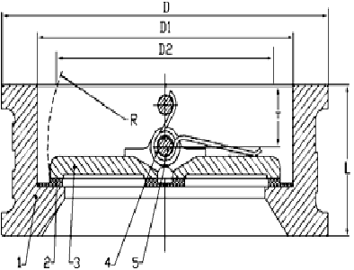
| No. | Part Name | Material |
| 1 | Valve body | DI/CI/GGG40/GGG25 |
| 2 | Seat | EPDM/NBR |
| 3 | Disc | SS304/CF8M/GGG40+NI |
| 4 | Spring | SS304 |
| 5 | Stem | SS304/SS410/SSW1.4021 |
| 6 | Surrounding Temperature | ≥-30℃ ≤+130℃ |
| 7 | Working Environment | Water, Steam,Non abbressive fluids |
| 8 | End | DIN PN10,PN16.JIS 10K. BS4505 PN10, PN16. |

Dimensions(mm):
| Size | D | D1 | D2 | L | R | T | Weight | ||||
| Inch | mm | PN10 | PN16 | JIS10K | Universeal | Kgs | |||||
| 2" | 50 | 107 | 107 | 101 | 95 | 65 | 43.3 | 43 | 28.8 | 19 | 1.5 |
| 2 1/2" | 65 | 127 | 127 | 121 | 108 | 80 | 60.2 | 46 | 36.1 | 20 | 2.4 |
| 3" | 80 | 142 | 142 | 131 | 127 | 94 | 66.4 | 64 | 43.4 | 28 | 3.6 |
| 4" | 100 | 162 | 162 | 156 | 156 | 117 | 90.8 | 64 | 52.8 | 27 | 5.7 |
| 5" | 125 | 192 | 192 | 187 | 187 | 145 | 116.9 | 70 | 65.7 | 30 | 7.3 |
| 6" | 150 | 218 | 218 | 217 | 212 | 170 | 144.6 | 76 | 78.6 | 31 | 9.0 |
| 8" | 200 | 273 | 273 | 267 | 266 | 224 | 198.2 | 89 | 104.4 | 33 | 17.0 |
| 10" | 250 | 328 | 328 | 330 | 326 | 265 | 233.7 | 114 | 127 | 50 | 26.0 |
| 12" | 300 | 378 | 382 | 375 | 375 | 310 | 279.05 | 114 | 146 | 43 | 37.0 |
| 14" | 350 | 438 | 442 | 420 | 420 | 360 | 327.87 | 127 | 170 | 45 | 54.9 |
| 16" | 489 | 489 | 410 | 375.88 | 140 | 195 | 52 | 78.0 | |||
| 18" | 555 | 555 | 450 | 414.06 | 152 | 215 | 58 | 119.0 | |||
| 20" | 594 | 594 | 505 | 467.83 | 152 | 241 | 58 | 122.0 | |||
| 24" | 700 | 700 | 624 | 569.59 | 178 | 294 | 73 | 174.0 | |||